Tesla teases a big launch on Tuesday, 10/7 — is it the new Roadster?

-

-Advertisement-

In an unexpected tweet, Elon Musk’s electric vehicle automaker Tesla (TSLA) posted a short teaser video clip on X. This video shows a fan or wheel start spinning and reaching insane RPMs.

It’s hardly a 9-second teaster. However, it has stirred a virtually infinite debate on what’s coming. At the last second, the video shows 10/7 — which translates to Tuesday, 7th October.

The ultimate and the longest-awaited Tesla car is the next-generation Roadster. This teaser coincides with the upcoming launch of the more affordable Tesla Model Y — but the basic Model Y isn’t about speed or acceleration, it’s going to be the cheapest Tesla yet.

Screenshot from the Tesla 10/7 teaser. Adjusted for more brightness but still does not reveal much.
Screenshot from the Tesla 10/7 teaser. Adjusted for more brightness but still does not reveal much (video). Credit: Courtesy of Tesla, Inc. (TSLA).
– Advertisement –
Tesla teaser for a grand launch coming on Tuesday, 7th October 2025.

Since this super-fast spinning turbine-like fan isn’t a Model Y wheel, or even a wheel at all, what is it? If you look at the video a few times with concentration, you’d notice the following things.

The spinning object isn’t a car wheel because it’s wobbling a bit when rotating. Car wheels don’t wobble when running, as this can be a significant safety issue.

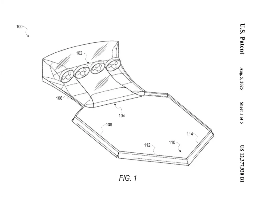
In August, a Tesla patent emerged online (first reported by Teslarati), which shows multiple fans attached to a car creating suction toward the ground. This technology increases downforce significatly and it can be controlled dynamically via onboard software.

The Abstract of the patent document states:

A vehicle aerodynamic system with dual operating modes to modify downforce across varying speed ranges and driving conditions.

The system comprises multiple fans positioned in airflow pathways and deployable skirts that interact with the ground surface.

In a first mode, complete set of skirts creates a fully sealed bounded region under the vehicle with central fans generating maximum downforce at low speeds on smooth surfaces.

In a second mode, a subset of skirts (primarily side skirts) modifies the bounded region while all fans operate to provide downforce in dynamic driving conditions with uneven surfaces.

– Advertisement –

The system includes a control mechanism to selectively deploy skirts and operate fans based on driving conditions, optimizing between maximum downforce at low speeds and improved performance over varying terrain at higher speeds.

Source: US Patent Office (USPTO).
Illustration of Tesla's patented downforce technology using multiple fans.
Illustration of Tesla’s patented downforce technology using multiple fans. Credit: USPTO / Tesla, Inc. (TSLA).
Tesla Model Y Accessories by EVANNEX (Sponsored Banner).
– Sponsored –

Interestingly, as you have read above, these downforce fans are installed under the vehicle and below the side skirts. The teaser video by Tesla suggests that this technology is going to be integrated into the upcoming ultra-high performance Roadster.

Elon Musk has teased SpaceX rocket thrusters for the Tesla Roadster multiple times. Once, he predicted that these thrusters would make Tesla Roadster go from 0-60 mph in just 1.1 seconds.

The recent development with the new patent and Tesla’s teaser, it looks like the automaker has developed an entirely new system instead of the rocket boosters. Musk hinted last year that the new Roadster is going through radical changes. These new turbines might just be one of those big changes.

In addition to a sub-1.0-second 0-60 time, these new turbine-shaped fans are going to exponentially improve the track performance of the new Roadster. It’s not just to to be a fast car in a straight line but it would also perform significantly better at tracks like Nurburgring, Laguna Seca, and the Pikes Peak.

Two next-gen Tesla Roadster prototypes (grey and red) on display at a past company event.
Two next-gen Tesla Roadster prototypes (grey and red) on display at a past company event. Credit: Courtesy of Tesla, Inc. (TSLA).
– Advertisement –

Stay tuned for constant Tesla updates, follow us on: 
Google News | Flipboard | X (Twitter) | WhatsApp Channel | RSS (Feedly).

Related Tesla News

Iqtidar Ali
Iqtidar Alihttp://www.teslaoracle.com
Author of more than 1500 articles on Tesla, SpaceX, and EVs. His work has been liked and tweeted by Elon Musk and other prominent influencers. You can reach him on Twitter @IqtidarAlii

Latest News

Tesla Semi battery pack sizes revealed in a California regulatory filing

After years of debate on Tesla Semi's range in real-world applications, the secret about its battery pack size is...

Flight 12 Starship Booster 19 performs a full-duration 33-engine static fire test ahead of launch

SpaceX once again played the game of fire and ash with Flight 12 Starship's Booster 19. A full-duration static...

Tesla launches new blue colors for higher Model Y and Model 3 trims (prices, availability, comparison)

After many years in service, Tesla (TSLA) finally says goodbye to the Deep Blue Metallic paint. It stayed in...

Tesla Europe issues deadlines for one-time FSD purchase in favor of monthly subscriptions

Tesla (NASDAQ: TSLA) has announced that it's going to end the one-time purchase of the Full Self-Driving package in...
- Advertisement -

Stay tuned with the updates in your Inbox

Get the latest Tesla FSD, Software Updates, Starship News in Your inbox.

By hitting the Subscribe button you agree to receiving email communications from TeslaOracle.com.
We don't email everyday. Frequency will be weekly at max.

Flight 12 Starship Booster 19 performs a full-duration 33-engine static fire test ahead of launch

SpaceX once again played the game of fire and ash with Flight 12 Starship's Booster 19. A full-duration static...

SpaceX conducts successful static fire tests on Starship 39 and Booster 19, Flight 12 happening in a few weeks

This week was big at SpaceX. Preparations for the Flight 12 launch and landing test (IFT-12) have moved into...

Starship Flight 12: Booster 19’s 10-engine static fire ends abruptly, SpaceX prepares for a 33-engine static fire test

Elon Musk's space exploration and commercial spaceflight company, SpaceX, fired a set of ten Raptor 3 engines on Starship's...

Tesla Tips & Tricks

Tesla HW4 cameras can melt snow to clear the Autopilot FSD Vision

As the winter season enters its full swing at...

Tesla offers access to its Model S, 3, X, Y service manuals subscription free for 1 year

Tesla has allowed its customers to subscribe to the...

Watch the Tesla Cybertruck front bumper camera washer in action and how it works

As the Tesla Cybertruck is getting into the hands...

Tesla Quarterly Reports & Eearnings

Tesla (TSLA) vehicle deliveries grew ~6% in Q1 2026 YoY despite challenges, energy business is down ~15%

Tesla, Inc. (TSLA) disclosed its first-quarter vehicle production and...

Tesla Q4 2025: Financial Results, Key Takeaways from Elon Musk’s Earnings Call, more

The Tesla (TSLA) Q4 2025 Earnings Call was important...

Stay tuned with the updates in your Inbox

Get the latest Tesla FSD, Software Updates, Starship News in Your inbox.

By hitting the Subscribe button you agree to receiving email communications from TeslaOracle.com.
We don't email everyday. Frequency will be weekly at max.
- Advertisement -

You might also likeRELATED
Recommended for You