For the last few years, Tesla has been trying to get rid of the windshield wipers and now it seems that they have moved one big step ahead in this direction. The United States Patent and Trademark Office (USPTO) has granted Tesla a patent that outlines the laser technology that will be used for cleaning debris from windows using and other parts of a vehicle.
Tesla had filed this patent application (No.16/408,671) on May 10, 2019. It took more than two years to get this patent approved by the USPTO.
Looking at the patent details (images below) — the pulsed laser cleaning of debris is not limited to the windshield only. Tesla has actually designed this system to clean debris from Autopilot cameras, door windows, and even the turn indicators as well.

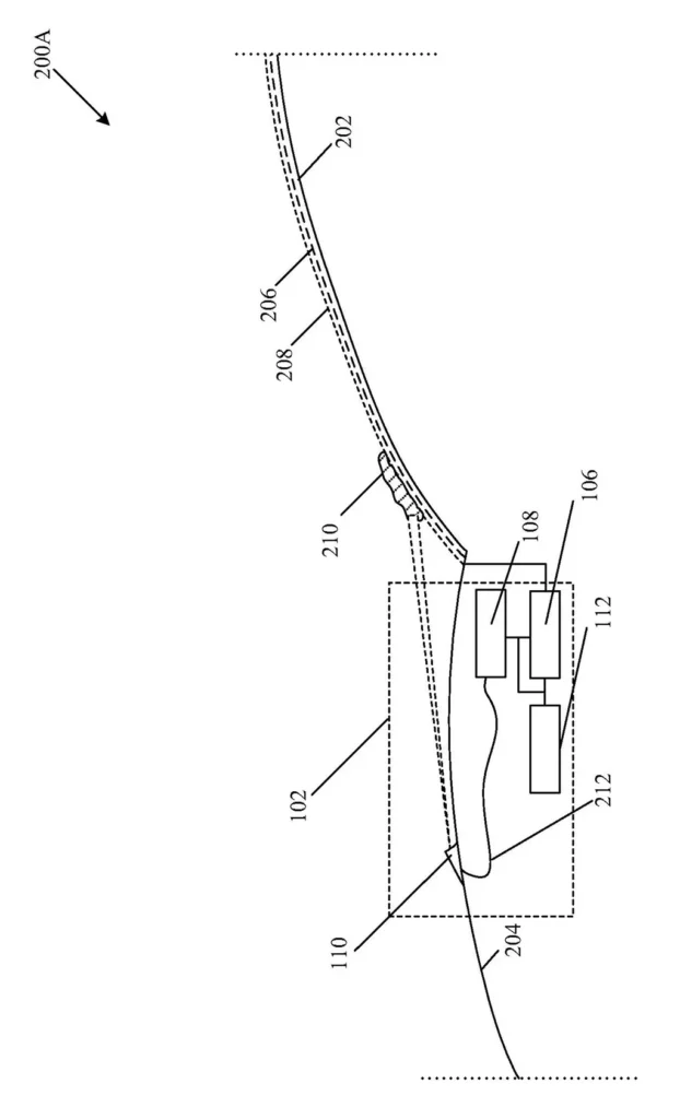
Three forward-facing Autopilot cameras are located behind the windshield (position 202 in Figure 1 above) — debris accumulated in this portion of the windscreen can hinder Auopilot function. Two laser beam optics assemblies located on the bonnet (218A & 218B in Figure 1 above) will be used to clear debris off the windscreen, eventually clearing the view for the Autopilot cameras.

Tesla plans to coat the windshield glass with two additional layers of coatings (206 & 208 in Figure 2 above). 208 is the debris detection coating and 206 is a laser barrier coating over the windscreen/window glass referred to as 202. This combination of coatings will detect debris on the vehicle windows and provide a barrier that stops the laser from entering into the vehicle cabin at the same time — thus preventing any harm to the vehicle occupants.
Upon detecting debris , the laser emitter (108) is triggered and the beam optics assembly (110) emits a laser at the debris (210) to clean the surface of the glass, cameras, or lights of the vehicle.
The patent document on the USPTO website describes what Tesla claims is going to be cleaned with using this proprietary laser beam technology as follows:
1. A cleaning apparatus for a vehicle, comprising: a beam optics assembly configured to emit a laser beam to irradiate a region on a glass article that is installed in the vehicle; a debris detection circuitry configured to: detect a plurality of accumulations at associated positions over the region on the glass article, and identify a subset of the accumulations as being debris removable by the laser beam, wherein a remaining subset of the accumulations are identified as being non-removable; and control circuitry configured to: calibrate a set of parameters associated with the laser beam emitted from the beam optics assembly based on detection of the debris accumulated over the region on the glass article; control an exposure level of the laser beam on the debris accumulated over the region on the glass article based on calibration of the set of parameters associated with the laser beam, wherein the exposure level is controlled based on pulsing the laser beam at a calibrated rate that limits penetration of the laser beam to a depth that is less than a thickness of the glass article; and remove the debris at the associated positions over the region on the glass article by the laser beam, wherein the laser beam is directed on the debris accumulated over the region on the glass article at the exposure level during an exposure period to mitigate a risk of damage to different in-vehicle components beneath the region on the glass article, wherein the laser beam is not directed on the remaining subset of the accumulations.
2. The cleaning apparatus according to claim 1, wherein the set of parameters comprises at least one of a wavelength associated with the laser beam, a frequency associated with the laser beam, a spot radius formed by the laser beam on the glass article, a pulse duration of the laser beam, a peak power of the laser beam, a number of pulses associated with the laser beam, a focal length of a lens in the beam optics assembly, or an angle of incidence of the laser beam on the debris.
3. The cleaning apparatus according to claim 1, wherein: the glass article is a vehicle windshield, and the control circuitry is configured to identify the debris on the vehicle windshield.
4. The cleaning apparatus according to claim 3, wherein the control circuitry is configured to identify the debris on a specific region of the vehicle windshield.5. The cleaning apparatus according to claim 1, wherein the debris detection circuitry includes an optical sensor, and wherein the debris detection circuitry is configured to determine respective types of the debris based on the optical sensor, wherein the set of parameters is calibrated based on the determined types.
6. The cleaning apparatus according to claim 5, wherein the optical sensor includes at least one of a built-in camera, a dash camera, a rear-view camera, or a surround-view camera.
7. The cleaning apparatus according to claim 1, wherein the debris detection circuitry includes a transparent or resistive layer overlaid on the glass article.
8. The cleaning apparatus according to claim 1, wherein the beam optics assembly is configured to steer energy of the emitted laser beam.
9. The cleaning apparatus according to claim 1, wherein the beam optics assembly is configured to beam form energy of the emitted laser beam.
10. The cleaning apparatus according to claim 1, wherein the beam optics assembly is configured to focus beam form energy of the emitted laser beam across a specific region of the glass article.
Tesla, Inc. via USPTO website
This laser-cleaning technology is invented by Phiroze Dalal who is the Sr. Staff Scientific and Industrial Imaging Specialist at Tesla. He has a long and successful career in industrial imaging solutions and Tesla has made a great use of his experience and skills to create such an amazing piece of technology.
Currently all production cars at Tesla (Model S, 3, X, Y) have windshield wipers installed out of the factory. But the Cybertruck prototype since its unveiling has no windshield wipers installed.
Even recently, when Tesla CEO Elon Musk visited Giga Texas in this Cybertruck prototype, the windshield wipers were not present on the electric pickup truck. Perhaps this will be the first Tesla vehicle to get this laser beam debris cleaning technology when the Cybertruck goes into production next year.
Related: Tesla patent: Cybertruck solar charging bed cover, new UI hints at 610 miles of range
Pulsed laser cleaning of debris accumulated on glass articles in vehicles and photovoltaic assemblies (pdf)
Tesla Patent: Pulsed Laser … by Iqtidar A


