Tesla (TSLA) has not given up on its dream of manufacturing cars by creating the entire body of the vehicle with a single-piece casting. Tesla CEO Elon Musk just opened up a little bit about this on Twitter, “With our giant casting machines, we are literally trying to make full-size cars in the same way that toy cars are made,” he said.
Just like metal or plastic toy cars are a complete body diecast, Tesla is trying to bring the same concept to real-world car manufacturing. Tesla’s success in this methodology will further advance the single-piece Giga Casting revolution the automaker has brought with the introduction of the Model Y electric SUV.
The following video shows how toy car shells are carved out of a single piece of wood or metal, the phenomena Elon Musk is trying to import from the toy industry to the cars. Btw, this method used for toy cars is not new, the design and production seen in this video are dated back to 1965.
Last year, I covered a Tesla patent that shows how the company envisions a giant unibody casting machine that would create the entire shell of the car (exoskeleton) in one go. When Tesla launched the Model Y and Elon Musk showed the single-piece rear and front underbody castings on Battery Day, some skeptics said that the unibody production concept was now dead.
But with the latest tweet by Elon Musk, Tesla did not stop at just two single-piece diecasts for new Model 3 and Model Y production, Tesla is still pursuing the idea of a monocoque Tesla car.

However, Tesla Cybertruck is expected to begin production at the Gigafactory Texas later this year that will mark the beginnings of the first Tesla exoskeleton. But the Cybertruck body is a stainless steel sheet folded to form the low-poly shape that this unique electric pickup truck has.
Making a unibody Model S, X, 3, Y, or a new car that looks normal will need an even bigger Giga Casting machine than the ones we saw at Tesla’s Fremont car factory (also currently operational at Giga Shanghai, see below photo). Gigafactory Berlin also has created space for 8 of these machines to be commissioned on the factory floor.

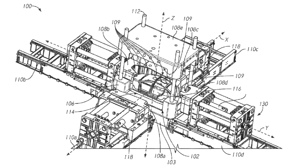
Those machines are giant Idra presses customized to create Tesla Model Y underbody castings but what Elon Musk is talking about is an even bigger machine. A glimpse of this concept can be seen in the following blueprint illustration taken from Tesla’s patent of a giant unibody casting machine.

A machine this big can make the current Giga Casting machines look small. One thing to remember is that Tesla has not yet gotten approval on this patent (get full patent pdf and details on XAuto). After further fine-tuning, Tesla might file another patent or re-apply after changes, the important thing is Tesla and Elon Musk are not going to abandon this goal just because of an unapproved patent.
Although it is not clear when Tesla will be able to achieve the goal of creating an entire car using a giant casting machine but the future of automotive manufacturing has become more interesting.
Related: Tesla orders its first 8,000-ton Cybertruck Giga Casting machine from IDRA | Watch the Model Y 6k-ton Giga Casting machines in action
Stay tuned for constant Tesla updates, follow us on:
Google News | Flipboard | X (Twitter) | WhatsApp Channel | RSS (Feedly).



Former president John Fitzgerald Kennedy once said, ” We need men ( humans) who can dream of things that never were”, That is You Mr. Musk and all that special team that have helped make it possible. I tried to emulate your work habits I’m constantly thinking and working on how to help people live better lives. I just want to thank you from one human being to another and tell you how eternally grateful I am the god created you and that I get to live in the era where such greatness exists! Thanks for who you are and all that you do!